HOY SE HABLA DE

Quizá la Cybertruck no fue tan mala idea: RAM patenta un diseño similar al de la pick-up de Tesla

Cubierta Batea Ram 1
Sin comentarios Facebook Twitter Flipboard E-mail
pablo-monroy

Pablo Monroy

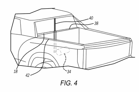
Stellantis está experimentando con una nueva cubierta de lona para la zona de la batea, que apunta a combinar la practicidad de los diseños convencionales, con los beneficios aerodinámicos de una superficie inclinada estilo fastback, algo que inevitablemente nos recuerda a la Cybertruck de Tesla.

La compañía presentó una patente de este diseño ante la Oficina de Patentes y Marcas de Estados Unidos el pasado 25 de diciembre, la cual incluye diagramas y una descripción detallada del sistema, que parece marcadamente diferente a todo lo que hemos visto actualmente en el mercado.

Cubierta Batea Ram 2

Por lo general, la cubierta de lona se coloca plana sobre la caja de una pick-up, funcionando como cualquier cubierta convencional, sin embargo, si los conductores buscan maximizar la eficiencia aerodinámica durante el viaje, la cubierta cuenta con paneles móviles triangulares, ubicados dentro de las paredes de la caja.

Estos componentes internos se pueden levantar, junto con un tercer panel ubicado cerca de la pared trasera de la caja, lo que permite que la cubierta adopte una configuración angular. De acuerdo con Mopar Insideres, la transformación está diseñada para reducir la resistencia aerodinámica mientras la camioneta está en movimiento.

Cubierta Batea Ram 3

Este diseño no sólo podría mejorar la aerodinámica en comparación con una cubierta plana, sino que también aumentaría la capacidad de carga almacenada y protegida en la caja. La patente también presenta un pequeño alerón aerodinámico plano, que podría desplegarse en la parte trasera de la cubierta.

La desventaja del diseño es que los propietarios tendrían que conformarse con una cubierta que haría que una camioneta normal pareciera una imitación de la Cybertruck. Por supuesto, la cubierta no sólo funcionaría para las futuras camionetas eléctricas de la familia Stellantis, sino también para los modelos actuales de combustión interna, lo que contribuiría a una mejor eficiencia de combustible.

Cubierta Batea Ram 4

Como ocurre con muchas patentes, no hay garantía de que el concepto llegue a producción, e incluso, si lo hace, es poco probable que forme parte del equipamiento de serie de los próximos modelos. Si Stellantis sigue adelante con él, cabe esperar que esta carrocería inclinada se convierta en una opción de alto precio, en lugar de un equipamiento de fábrica.

Inicio